Dzisiaj jest 25 stycznia 2026, 10:13


Strefa czasowa UTC+1godz.




Nowy temat Odpowiedz w temacie  [ Posty: 73 ]  Przejdź na stronę Poprzednia  1, 2, 3, 4, 5
Autor Wiadomość
Post: 23 października 2015, 19:56 
Przyjaciel Nysa/Żuk Service
Awatar użytkownika

Rejestracja: 20 maja 2014, 08:31
Posty: 541
Lokalizacja: Warszawa
Ha - jest rozwiązanie problemu;-)

Kolega, pędzący swe auto od lat rzepakiem stosuje taką pompę:
http://www.kraftstoffpumpen.com/hardi-k ... p-120.html

Z tego co z nim rozmawiałem, jest to pompa membranowa, która "buduje" ciśnienie w układzie i kiedy jest ono poprawne - ona się wyłącza. Jak spada poniżej pewnego poziomu - pompa rusza do boju. Dzięki temu nie grozi zabicie jej przez ciągłą pracę w warunkach tłoczenia ON, który jest gęstszy od benzyny. Dlatego właśnie skonała pompka za 55 zeta. Ta pompa pracuje u mojego kolegi już, UWAGA, 11 lat. Bez jęknięcia. Cena nieco wyższa niż chiński gównolit, ale święty spokój na zawsze;-)

Do tej pompy którą podałem wyzej - niezbędne jest dodanie po drodze takiego odstojnika:
http://www.monopoel.de/catalog/vorfilte ... p-416.html
Nie musi to byc dokładnie ten, ale trzeba coś dobrać z ciężarówek/autobusów. Jego zastosowanie jest konieczne, aby nie zabić pompy syfem, bo przecież główny filtr jest ZA pompą.

Zamówiłem już pompę i jadę na niej do Afryki. Jak wrócę to zdam relację;-)

_________________
Pozdrawiam

Piotr "Diesel" Biegała

www.lezuk.pl


Na górę
Offline Wyświetl profil  
 
Post: 23 października 2015, 20:18 
Przyjaciel Nysa/Żuk Service
Awatar użytkownika

Rejestracja: 24 czerwca 2015, 23:30
Posty: 649
Lokalizacja: Wrocław
Pojazd: Żuk A07J 2.4TD
Gdzie tą pompę zamawiałeś?
Rewelacja! :)
Mogłeś mówić też bym reflektował :P

_________________
Żuk Kazik:
http://www.forum.polskiedostawczaki.pl/ ... =16&t=2875
https://www.facebook.com/Zuk.Kazik


Na górę
Offline Wyświetl profil  
 
Post: 23 października 2015, 21:04 
Fanatyk Nysa/Żuk Service
Awatar użytkownika

Rejestracja: 14 grudnia 2014, 17:37
Posty: 2120
Lokalizacja: Swędów LDZ
Pojazd: 522T '93r, A111B '91r
elektryczne pompki membranowe miały niektóre ogrzewania postojowe np. produkcji ddr.
plusem tej jest wyłączanie się po osiagnieciu cisnienia, a nie praca ciagła na uniesionych zaworkach jak w mechanicznej (np. przy pracy silnika na gazie)

_________________
Strucelserwis był, Żuk został.


Na górę
Offline Wyświetl profil  
 
Post: 23 października 2015, 21:11 
Przyjaciel Nysa/Żuk Service
Awatar użytkownika

Rejestracja: 24 czerwca 2015, 23:30
Posty: 649
Lokalizacja: Wrocław
Pojazd: Żuk A07J 2.4TD
Ile Cię ta pompa z wysyłką wyniesie?
Pewnie z 300 zł, kurde trochę drogo :(

_________________
Żuk Kazik:
http://www.forum.polskiedostawczaki.pl/ ... =16&t=2875
https://www.facebook.com/Zuk.Kazik


Na górę
Offline Wyświetl profil  
 
Post: 24 października 2015, 07:45 
Przyjaciel Nysa/Żuk Service
Awatar użytkownika

Rejestracja: 20 maja 2014, 08:31
Posty: 541
Lokalizacja: Warszawa
Zamawiałem tam gdzie dałem link. W PL tego nie znalazłem;-(

Jeszcze do mnie nie dojechała, bo odbierał mi ją kumpel w DE, który jedzie do PL i ją przywiezie.

_________________
Pozdrawiam

Piotr "Diesel" Biegała

www.lezuk.pl


Na górę
Offline Wyświetl profil  
 
Post: 03 listopada 2015, 12:56 
Miłośnik Nysa/Żuk Service
Awatar użytkownika

Rejestracja: 24 lutego 2015, 21:39
Posty: 291
Lokalizacja: Kraków
Pojazd: Żuk A07
Diesel pisze:
(...) Wyjęcie kluczyka zamyka bowiem zawory paliwowe;-)


To jakim cudem Żukołak potrafi jeździć po wyłączeniu stacyjki albo wyłącznika prądu?


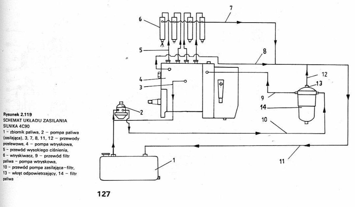
Załączniki:
schematukladuzasilania.jpg
schematukladuzasilania.jpg [ 116.07 KiB | Przeglądany 9136 razy ]

_________________
https://www.facebook.com/zukolak/
Na górę
Offline Wyświetl profil  
 
Post: 03 listopada 2015, 13:04 
Przyjaciel Nysa/Żuk Service
Awatar użytkownika

Rejestracja: 20 maja 2014, 08:31
Posty: 541
Lokalizacja: Warszawa
Czytaj króliczku ze zrozumieniem. Moje zawory paliwowe, te które dodałem;-)

_________________
Pozdrawiam

Piotr "Diesel" Biegała

www.lezuk.pl


Na górę
Offline Wyświetl profil  
 
Post: 03 listopada 2015, 13:25 
Miłośnik Nysa/Żuk Service
Awatar użytkownika

Rejestracja: 24 lutego 2015, 21:39
Posty: 291
Lokalizacja: Kraków
Pojazd: Żuk A07
Zapomniałem Diesel o Twoich dwóch zbiornikach itd :D

_________________
https://www.facebook.com/zukolak/


Na górę
Offline Wyświetl profil  
 
Post: 03 listopada 2015, 14:13 
Fanatyk Nysa/Żuk Service
Awatar użytkownika

Rejestracja: 13 marca 2015, 12:54
Posty: 1254
Lokalizacja: Bydgoszcz
Pojazd: Żuk A07D 1996.31.12, 4C90
Jak babcię kocham, jeśli coś wyleci w kosmos, to będzie to Żuk -Diesla.

_________________
Byliśmy na 2015/ 2016/2017
WOODSTOCK


~Pojazd wielozadaniowy stworzony z myślą o podniebnych wojażach, widziany przez niektórych nad strefą 51'

Zagorzały miłośnik bębnowego pisku - szanuj bęben - jedź poboczem
Czy widział pan, Panie władzo, by ktoś leciał bokiem, ŻUKIEM?!


Na górę
Offline Wyświetl profil  
 
Post: 03 listopada 2015, 14:59 
Fanatyk Nysa/Żuk Service
Awatar użytkownika

Rejestracja: 14 grudnia 2014, 17:37
Posty: 2120
Lokalizacja: Swędów LDZ
Pojazd: 522T '93r, A111B '91r
Jakie tu czułości-po króliczku sie tytułują; aż strach na zlot jechać;)

_________________
Strucelserwis był, Żuk został.


Na górę
Offline Wyświetl profil  
 
Post: 03 listopada 2015, 15:55 
Przyjaciel Nysa/Żuk Service
Awatar użytkownika

Rejestracja: 20 maja 2014, 08:31
Posty: 541
Lokalizacja: Warszawa
Przyjechała pompa z Niemiec. Ale cacko. W ręku czuć że to nie jest gównolit z chin za 5 USD ;-)

Jak ktoś chce fotek to składać zamówienia;-)

_________________
Pozdrawiam

Piotr "Diesel" Biegała

www.lezuk.pl


Na górę
Offline Wyświetl profil  
 
Post: 03 listopada 2015, 16:17 
Administrator Nysa Service
Awatar użytkownika

Rejestracja: 12 sierpnia 2007, 13:53
Posty: 5104
Lokalizacja: Jelenia Góra
Pojazd: Nysa 522R 1991
Ja tam chcę fotki z montażu :)

Bynajmniej nie dlatego, że sam coś takiego montuję, ale lubię popatrzeć :mrgreen:

_________________
NYSA- to jest to... ;)
>Pracownia Renowacji Zabytkowych Motocykli< - Najlepsza robota renowacyjna, polecam!


Na górę
Offline Wyświetl profil  
 
Post: 03 listopada 2015, 20:00 
Przyjaciel Nysa/Żuk Service
Awatar użytkownika

Rejestracja: 24 czerwca 2015, 23:30
Posty: 649
Lokalizacja: Wrocław
Pojazd: Żuk A07J 2.4TD
Dawaj foty!
Tylko ta cena.......!

_________________
Żuk Kazik:
http://www.forum.polskiedostawczaki.pl/ ... =16&t=2875
https://www.facebook.com/Zuk.Kazik


Na górę
Offline Wyświetl profil  
 
Wyświetl posty nie starsze niż:  Sortuj wg  
Nowy temat Odpowiedz w temacie  [ Posty: 73 ]  Przejdź na stronę Poprzednia  1, 2, 3, 4, 5
Moderatorzy: monterr07, Dziwny Mag

Strefa czasowa UTC+1godz.


Kto jest online

Użytkownicy przeglądający to forum: Google [Bot] i 3 gości


Nie możesz tworzyć nowych tematów
Nie możesz odpowiadać w tematach
Nie możesz zmieniać swoich postów
Nie możesz usuwać swoich postów
Nie możesz dodawać załączników

Szukaj:
Przejdź do:  

Technologię dostarcza phpBB® Forum Software © phpBB Group
Theme created StylerBB.net